ניאגרה סמויה לגבס גבהים שונים
ניאגרה גבס אקו פלוס עם אלמנט חיבור לקיר גבס
אפשרות התקנת אסלה בגבהים משתנים
מתאימה לכל סוגי לחצני וייגה
ניאגרה גבס אקו פלוס עם אלמנט חיבור לקיר גבס
אפשרות התקנת אסלה בגבהים משתנים
מתאימה לכל סוגי לחצני וייגה
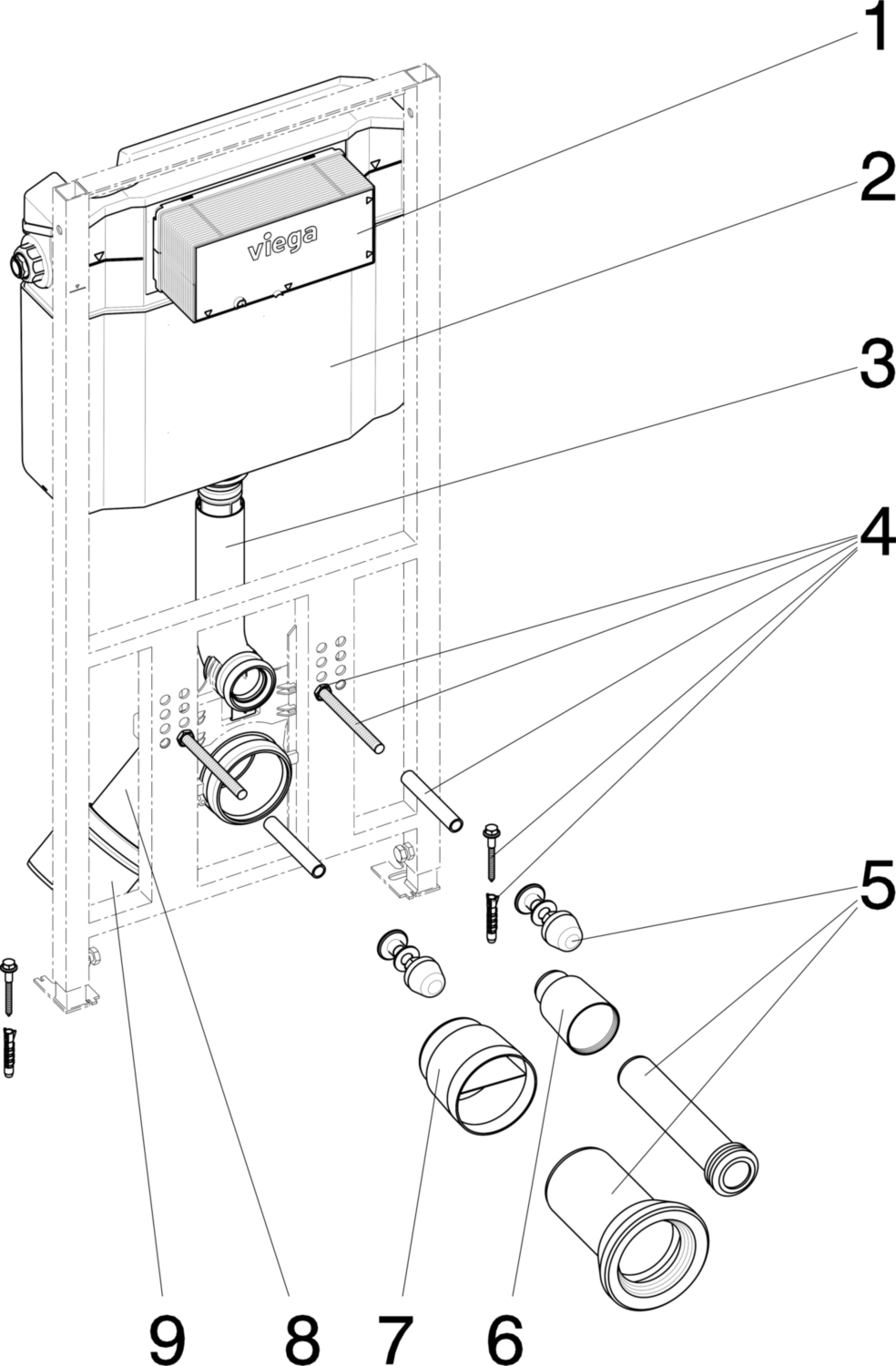
Viega Eco Plus WC element
-for flush plates Visign
-for pre-wall mounting please order separately: Viega Eco Plus fixing set Model 8173
-flush actuation from front, dual flush technology, adjustable ceramic height, barrier-free
Components
powder-coated steel frame, concealed cistern 2H, WC connection elbow DN90 (depth-adjustable) made of PP, eccentric adapter DN90/100 made of PP, WC connection fitting, fixing material for element (for floor) and ceramic, screws (self-drilling) for fixing to metal support profiles, hole Ø 11 mm for fixing in wooden frame construction or application of fixing element for support arm (model 8169.2), alignment help
Cistern components
corner valve with pre-mounted water connection Rp½, filling valve set, drain valve set
Technical data
Partial flush volume factory setting approx. 3 l
Partial flush volume setting range approx. 3–4 l
Full flush volume factory setting approx. 6 l
Full flush volume setting range approx. 6–9 l
Note
Immediate reflushing is possible at the factory settings!
Flush plates and accessories: product group WC and urinal actuation accessories!
** for construction height 1130 mm only
Model 8161.2
-for flush plates Visign
-for pre-wall mounting please order separately: Viega Eco Plus fixing set Model 8173
-flush actuation from front, dual flush technology, adjustable ceramic height, barrier-free
Components
powder-coated steel frame, concealed cistern 2H, WC connection elbow DN90 (depth-adjustable) made of PP, eccentric adapter DN90/100 made of PP, WC connection fitting, fixing material for element (for floor) and ceramic, screws (self-drilling) for fixing to metal support profiles, hole Ø 11 mm for fixing in wooden frame construction or application of fixing element for support arm (model 8169.2), alignment help
Cistern components
corner valve with pre-mounted water connection Rp½, filling valve set, drain valve set
Technical data
Partial flush volume factory setting approx. 3 l
Partial flush volume setting range approx. 3–4 l
Full flush volume factory setting approx. 6 l
Full flush volume setting range approx. 6–9 l
Note
Immediate reflushing is possible at the factory settings!
Flush plates and accessories: product group WC and urinal actuation accessories!
** for construction height 1130 mm only
Model 8161.2
פריט
מפרט חלקים
